李现ing微博(李现工作室注册李现商标成功)

安阳金融界2022/05/02 10:33:29
<body>

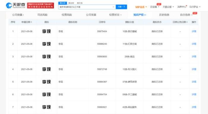
天眼查App显示,南京李现影视文化工作室申请注册的部分“李现ing”“李现”“ing”商标流程变更为已注册,国际分类涉及服装鞋帽、食品、医疗器械等,另外有部分商标状态为“等待实质审查”“初审公告”。据悉,李现微博名为李现ing。

本文源自金融界网

网友热议

热门推荐

相关推荐

  • 李现的女朋友王紫璇(观众说的最多的是王紫璇的演技)

    李现的女朋友王紫璇(观众说的最多的是王紫璇的演技)

    小银子壁纸2022-07-06

    当一个女人遭遇职场性骚扰陷入崩溃,给自己的闺蜜打电话时,谁料闺蜜那头却比她先开口说出了“多喝热水”。这句渣男台词是当初两人的求救约定信号,闺蜜开口代表着她已

  • 李现ing微博(李现工作室注册李现商标成功)

    李现ing微博(李现工作室注册李现商标成功)

    金融界2022-05-02

    天眼查App显示,南京李现影视文化工作室申请注册的部分“李现ing”“李现”“ing”商标流程变更为已注册,国际分类涉及服装鞋帽、食品、医疗器械等,另外有部分商标状

  • 李现的女朋友王紫璇(李现王紫璇又传恋情)

    李现的女朋友王紫璇(李现王紫璇又传恋情)

    盖饭娱乐官方号2022-04-30

    饿了吗?戳右边关注我们,每天给您送上最新出炉的娱乐硬核大餐!李现和王紫璇又被传恋情了!5月19日晚,一则标题为《kdl,李现要夏天,王紫璇叫夏天》的帖子引起热议,令不少网友

  • 王栎鑫老婆追星李现(王栎鑫吐槽老婆追星李现)

    王栎鑫老婆追星李现(王栎鑫吐槽老婆追星李现)

    中国青年网2022-04-30

    王栎鑫与老婆聊天记录王栎鑫老婆朋友圈评论李现广告王栎鑫与老婆吴雅婷新浪娱乐讯 4月21日凌晨,王栎鑫在微博晒出与老婆的聊天记录,并吐槽道:“最终还是我一个人抗下

  • 微博之夜2020李现,2020尖叫之夜红毯亮相

    微博之夜2020李现,2020尖叫之夜红毯亮相

    爱豆2022-04-06

    今日,李现出席了在北京举办的爱奇艺2020尖叫之夜。在众多现女友和天现宝宝们的等待中,李现以一身白色西装惊艳亮相。在红毯上,演员李现也接受了主持人的采访,回答中感